在常人看來,與科技相關的產品常常會被蘋果用于申請專利。譬如環繞式的智能手機顯示屏、全觸控鍵盤、與觸控板兼容的手寫筆以及內置屏幕的虛擬現實設備等等。然而,最近蘋果竟然為一款手提紙袋申請了專利,這讓人大跌眼鏡。
當然,這款手提紙袋對于蘋果以及其用戶來說非常重要,因為人們會利用該紙袋把蘋果產品從零售商店帶回家。
據英國《每日郵報》2016年9月20日報道,蘋果日前向美國專利與商標局提交了一項關于紙袋的專利申請,并且已經獲批。英媒稱,就像所有最好的蘋果產品一樣,它有著明確的用途。它形式簡單,注重實用性,同時具有描述這家世界知名技術公司產品特征的設計。
蘋果表示,由于現有的用可回收材料制作的白色紙袋極其脆弱,所以便想將紙袋進行改造升級,使其變得環保、耐用。
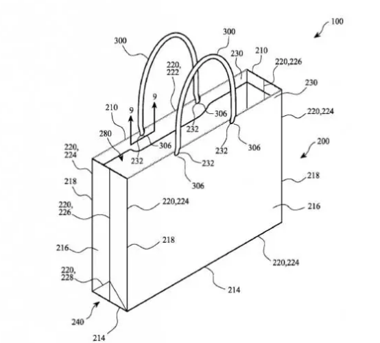
報道稱,美國專利申請號20160264304描繪了其主要特征:“以下的披露與一個袋子有關,就像零售購物袋。它可能完全由紙構成,或許還包含粘合劑?!薄按油ǔS糜谘b物品。比如零售紙袋可以將從零售商店購買的商品包裝起來。”
事實上,用紙袋包裝已經成為零售業的慣例。但蘋果卻在其專利申請中標新立異。
總的來說,一個袋子的材料循環再利用的程度越高,袋子就越薄,用處越小。而蘋果在專利備案文件中強調了該紙袋的環保型設計理念——這款袋子不同,新的紙袋沒有使用傳統的白色固體漂白硫酸鹽紙,而使用了新技術,使其中至少含有60%的回收材料,但仍能保持強度。方式是加強袋子的邊角和底部,用一種“完全由紙纖維紗線以8針的環形方式來編織”提手,“加強嵌入物從而增強袋子應對撕扯的強度和韌性,外殼材料能使其在結構上更適合用作袋子”。
蘋果公司認為,通過合理設計,該紙袋能夠有效保護所有的蘋果產品,完全消除了意外開裂的安全隱患。同時其表示,這款完全采用紙質材料的袋子“能夠有效減少在生產、使用以及處置過程中對環境造成的影響。”
目前,公司已在一些零售店的發售活動中使用環保紙袋了,例如Apple Watch。
紙袋越來越被大家所青睞,你家包裝換新衣沒?麥禾包裝專業定制各種紙袋,想你所想,如你所愿!
上海麥禾包裝制品有限公司備案:滬ICP備08112619號-1
電話:177 0181 3513
QQ:2355318244
E-MAIL:2355318244@qq.com
FSC: BV-COC-116739(FSC TM C116739)
